-
-
- Acessórios de cozinha
- Alcoómetros
- Liquidificadores, misturadores e robôs planetários
- Chaleiras elétricas
- Máquinas de café e café
- Máquinas de waffles
- Frytownice (Air Fryer)
- Kostkarki do lodu
- Mikrofalówki
- Piekarniki i piece
- Szybkowary
- Saturatory
- Tostery, opiekacze, grille elektryczne
- Termosy i kubki termiczne (Sport i turystyka)
- Wagi kuchenne
- Żelazka i parownice
- Aquecedores
- Uzdatnianie powietrza
- Wentylatory i klimatyzatory
- Odkurzacze
-
- Lokalizatory
- Gwarancje i licencje cyfrowe
- Konsole i akcesoria
- Akcesoria GSM
- Monitoring CCTV
- Tablety i czytniki e-book
- Fotografia
-
Sprzęt sieciowy
- VoIP
- LTE, 5G
- Kable i patchcordy
- Akcesoria do szaf Rack
- OLT i ONT
- Akcesoria sieciowe
- Anteny Wi-Fi, LTE
- Obudowy, mufy, puszki
- Szafy Rack
- Spawarki światłowodowe i narzędzia
- Access Pointy
- Switche (Przełączniki)
- Uchwyty montażowe (akcesoria montażowa)
- Moduły SFP
- Zasilanie
- Amplificadores de sinal Wi-Fi
- Routery
- Radiolinie
- Powerline
- Piloty do przeciągania kabli
- Media konwertery
- Komputery i gaming
- Drony i akcesoria
- Alimentação
- Inteligentne okulary
- Liczarki do pięniędzy
-
- Aspiratory do nosa
- Inhalatory (link do zdrowia)
- Lampki, projektory gwiazd (Dom i ogród)
- Poduszki ciążowe
- Podgrzewacze do butelek
- Sterylizatory dla butelek
- Termometry dla dzieci
- Penicos e adaptadores
- Masażery laktacyjne
- Pokój dziecięcy
- Zabawki, gry i edukacja
- Butelki, bidony i akcesoria
- Laktatory i akcesoria
- Wanienki i akcesoria do kąpieli
- Wózki dla dzieci
- Odzież
MikroTik netPower 15FR - aplicação prática
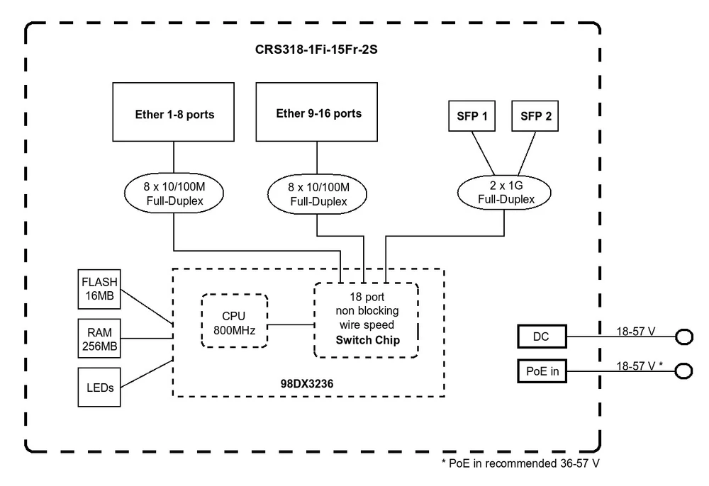
MikroTik netPower 15FR também conhecido como CRS318-1Fi-15Fr-2S-OUT, é um switch de alto desempenho que faz parte do conceito MikroTik GPEN. O conceito GPEN (uma alternativa ao GPON) é projetado para fornecer a velocidade e a versatilidade de uma rede de fibra, aproveitando os benefícios da Ethernet. netPower 15FR é equipado com 15 portas reversíveis PoE e, dependendo da configuração, netPower pode extrair a quantidade necessária de energia de até um cliente. A porta 15, por outro lado, pode alimentar outros dispositivos habilitados para PoE.
Claro que não faltam os portos SFP! O CRS318-1Fi-15Fr-2S-OUT foi equipado com duas portas SFP, para conexão de fibra óptica. O dispositivo é normalmente projetado para operação ao ar livre. A caixa permite a instalação do interruptor em diferentes tipos de ambientes. Podem ser, por exemplo, sótãos, onde há sempre humidade elevada, poços de elevadores, telhados ou postes.
Claro que não faltam os portos SFP! O CRS318-1Fi-15Fr-2S-OUT foi equipado com duas portas SFP, para conexão de fibra óptica. O dispositivo é normalmente projetado para operação ao ar livre. A caixa permite a instalação do interruptor em diferentes tipos de ambientes. Podem ser, por exemplo, sótãos, onde há sempre humidade elevada, poços de elevadores, telhados ou postes.

MikroTik netPower 15FR - especificação
CRS318-1Fi-15Fr-2S-OUT foi equipado com o processador 98DX224S (ARM 32bit) com um único núcleo relógio a 800MHz. O fabricante também equipou o interruptor com 256MB de RAM e 16 MB de memória FLASH. Mikrotik netPower 15FR foi licenciado sob a licença RouterOS nível 5 e tem a capacidade de Dual boot, o que significa que pode ser executado em ambas as plataformas SwOS e RouterOS. Tudo isso faz com que o switch tenha uma taxa de transferência sem bloqueio de 3.6Gbps, desempenho de comutação de 7.2Gbps, e taxa de encaminhamento de 5.4Mpps.



CRS318-1Fi-15Fr-2S-OUT - fonte de alimentação
O software 6.46.x tem problemas em limitar o tráfego nas portas e vlan (hardware offload), somente no software 6.47.x funciona corretamente por porta e por vlan limitador.
A limitação por vlan só funciona para o tráfego de entrada.
A limitação por vlan só funciona para o tráfego de entrada.
De acordo com a documentação típica da MikroTik, há uma forte sugestão para alimentar os pontos centrais através de adaptadores dedicados de cliente GPEN (Gigabit Passive Ethernet Network Concept). Depois de calcular os custos, é preciso gastar cerca de 40PLN por cliente e comprar uma fonte de alimentação separada de 12-57V (recomendada 48V), o que soma cerca de 70-100PLN. Deve-se notar que as fontes de alimentação abaixo de 28-30W não são recomendadas para instalações que utilizam a porta PoE OUT para alimentar outro dispositivo. A fonte de alimentação mais popular de 48V tem 0,3-0,5A e pode ser insuficiente para alimentar toda a instalação no caso de um dispositivo conectado à porta Poe-Out. O switch em si com 3 portas LAN e duas inserções SFP utilizadas consome 0,31A a 25V e cada porta adicional deve adicionar 0,005A de consumo que quando todas as portas estão ocupadas dá um consumo inferior a 0,4A

Experiência
Decidimos realizar uma experiência de uma semana, que foi feita pelo insubstituível Wojtek Repinski. Nosso experimento mostrou que o netPower 15FR também pode ser alimentado por outras fontes de energia como GPEN11 ou GPEN21.

Em nossos testes de laboratório, nós testamos várias fontes de alimentação populares. O seu design permite, entre outros, uma elegante montagem na parede, como no caso da GPEN11, e custam muito menos:
O interruptor só tira corrente de uma fonte de energia de cada vez, os outros estão em standby e têm um consumo de corrente inferior a 0,002A. O consumo atual não é distribuído de forma justa entre todos os clientes. A fonte de alimentação que tem a tensão mais alta(volts) é selecionada.
Se você alimentar a unidade até 24 volts e conectar 48 volts, a netPower 15FR mudará automaticamente para alimentação a partir da fonte mais potente. Isto permite-lhe decidir, de certa forma, qual a fonte de energia que será a "principal" e, portanto, qual o cliente que suportará o custo da energia.
- OK - fonte de alimentação UBNT U-POE-AF (48V 0.32A)
- OK - fonte de alimentação UBNT POE-48-24W-G (48V 0,5A)
- NÃO - fonte de alimentação UBNT Gigabit POE-50-60W (50V 1,2A passivo)
- NÃO - fonte de alimentação UBNT Gigabit POE-24-30W (24V 1,25A)
- NÃO - unidade de fornecimento de energia UBNT Gigabit POE-24-24W-G (24V 1A)
- OK - MikroTik GPOE para 48V 0,95A
- OK - MikroTik GPOE para 24V 1A
IMPORTANTE
O interruptor só tira corrente de uma fonte de energia de cada vez, os outros estão em standby e têm um consumo de corrente inferior a 0,002A. O consumo atual não é distribuído de forma justa entre todos os clientes. A fonte de alimentação que tem a tensão mais alta(volts) é selecionada.
Se você alimentar a unidade até 24 volts e conectar 48 volts, a netPower 15FR mudará automaticamente para alimentação a partir da fonte mais potente. Isto permite-lhe decidir, de certa forma, qual a fonte de energia que será a "principal" e, portanto, qual o cliente que suportará o custo da energia.
Exemplos de aplicação
Indo um passo além, preparamos vários esquemas práticos de utilização da MikroTik netPower15FR em vários tipos de redes. Graças a tantas portas PoE reversíveis e opção PoE out na última porta LAN, o dispositivo torna-se muito universal e pode ser usado em praticamente qualquer local. Os diagramas abaixo mostram que o switch se encaixa perfeitamente em qualquer topologia de rede. Podemos conectar, por exemplo, MikroTik LHG XL 52ac, a fim de receber a principal fonte de Internet de um provedor externo. Também podemos conectar o MikroTik Omnitik 5 e desta forma temos um ponto de acesso muito eficiente. O que é o mais importante! Cada um dos esquemas apresentados é baseado no fornecimento de energia dos Clientes através da opção inversa do PoE! Abaixo você pode encontrar alguns exemplos interessantes de utilização da MikroTik netPower15FR.



Limitação de velocidade na VLAN seleccionada
Está na hora de praticar! Abaixo, em alguns passos, apresentamos instruções sobre como limitar a velocidade (Upload/Download) na VLAN selecionada.
REQUISITOS: RouterOS versão 6.47.x por causa da possibilidade de fazer a configuração através da aplicação WinBox
REQUISITOS: RouterOS versão 6.47.x por causa da possibilidade de fazer a configuração através da aplicação WinBox
A restrição de VLAN só pode ser realizada no tráfego que entra numa porta a partir de uma VLAN. Para garantir o controle bidirecional da largura de banda, temos que estabelecer restrições para VLAN em ambas as portas.
- Selecione "Switch"no menu

Depois vá para o separador"Regra"
3. use o sinal " " para adicionar regra de limite de velocidade para o tráfego que entra nesta porta.
3. use o sinal " " para adicionar regra de limite de velocidade para o tráfego que entra nesta porta.

Seleccione a porta para a qual pretende restringir o tráfego que entra nesta VLAN. 5.
Especifique a VLAN que você quer restringir. 6.
6. especifique o limite de velocidade. O "M" significa Mb/s (Mbps)
Especifique a VLAN que você quer restringir. 6.
6. especifique o limite de velocidade. O "M" significa Mb/s (Mbps)

NOTA: As restrições definidas para uma VLAN específica têm precedência sobre uma restrição geral na mesma porta para tráfego de entrada.
Para a versão de software 6.46.x, só podemos realizar a restrição por-VLAN a partir da linha de comando. Abaixo está um exemplo.
/interfaceportas
ethernet switchaddruleadd=ether1 rate=10M
switch=switch1 vlan-id=100add ports=sfp1 rate=25M switch=switch1 vlan-id=100
Para a versão de software 6.46.x, só podemos realizar a restrição por-VLAN a partir da linha de comando. Abaixo está um exemplo.
/interfaceportas
ethernet switchaddruleadd=ether1 rate=10M
switch=switch1 vlan-id=100add ports=sfp1 rate=25M switch=switch1 vlan-id=100
Limitação de velocidade na porta selecionada
E outra parte da prática. Desta vez vamos mostrar como limitar rapidamente a velocidade numa porta seleccionada de um interruptor MikroTik CRS série 3xx. A configuração é realizada no RouterOS versão 6.46.x, devido ao fato de que podemos usar a ferramenta Winbox.
Escolha"Switch" no menu
Escolha"Switch" no menu

Depois vá para o separador"Porto" 3.
3. Seleccione a interface do interruptor para o qual pretende limitar a velocidade.
3. Seleccione a interface do interruptor para o qual pretende limitar a velocidade.

4. Definir a restrição para o tráfego de entrada por porto.
Defina a limitação para o tráfego de saída por porto. 6.
6) Opcionalmente, você pode estabelecer restrições especiais para Unicast e Multicast
Defina a limitação para o tráfego de saída por porto. 6.
6) Opcionalmente, você pode estabelecer restrições especiais para Unicast e Multicast

Resumo e conclusões
Podemos dizer com certeza que o CRS318-1Fi-15Fr-2S-OUT é um switch muito universal que pode ser usado em qualquer topologia de rede. As portas reversíveis PoE são extremamente importantes, e resolvem o problema de fornecimento de energia muitas vezes. É certo que não existem portas LAN gigabit, pois a netPower15FR está equipada com Ethernet 10/100Mbps. Mas afinal de contas, não podemos esquecer que existem duas portas de fibra SFP de 1Gbps disponíveis. No entanto, quando todos os portos LAN estão ocupados, o tráfego do porto SFP precisa ser agregado, pois a carga do cliente pode ser demais para a capacidade de um único porto SFP.

Uma coisa é certa! Depois dos nossos testes, descobrimos que Fontes de alimentação 24V abaixo de 1A não devem ser utilizadas!
Claro que, como qualquer dispositivo, a netPower15FR também tem os seus prós e os seus contras. As portas 10/100Mbps definitivamente não são sua vantagem, de forma similar ao fato de que o RouterOS versão 6.47.7 não consegue reconhecer qual modelo de switch está instalado no dispositivo. Mas a troca também tem uma série de vantagens. Antes de mais nada, vale a pena notar a possibilidade de usar tanto o RouterOS como o SwitchOS. A capacidade de usar outras fontes de alimentação além dos módulos dedicados, e indicador LED junto à porta ETH que mostra exatamente qual porta é alimentada pelo dispositivo. Não podemos esquecer a versatilidade de montar o aparelho numa parede ou mastro, e o conjunto inclui um modelo para fazer furos. Generalizando. Provavelmente todos têm estado à espera de uma solução com portas PoE reversíveis há muito tempo. A solução funcionará perfeitamente em qualquer topologia de rede e é uma ótima solução para muitos ISPs. MikroTik está claramente à altura do desafio! Só podemos esperar por interruptores semelhantes, mas talvez desta vez com portas de 1Gbps ou mesmo 2.5Gbps. Bravo MikroTik! Estamos à espera de mais!
Autores:
Leszek Błaszczyk
Wojciech Repiński
Claro que, como qualquer dispositivo, a netPower15FR também tem os seus prós e os seus contras. As portas 10/100Mbps definitivamente não são sua vantagem, de forma similar ao fato de que o RouterOS versão 6.47.7 não consegue reconhecer qual modelo de switch está instalado no dispositivo. Mas a troca também tem uma série de vantagens. Antes de mais nada, vale a pena notar a possibilidade de usar tanto o RouterOS como o SwitchOS. A capacidade de usar outras fontes de alimentação além dos módulos dedicados, e indicador LED junto à porta ETH que mostra exatamente qual porta é alimentada pelo dispositivo. Não podemos esquecer a versatilidade de montar o aparelho numa parede ou mastro, e o conjunto inclui um modelo para fazer furos. Generalizando. Provavelmente todos têm estado à espera de uma solução com portas PoE reversíveis há muito tempo. A solução funcionará perfeitamente em qualquer topologia de rede e é uma ótima solução para muitos ISPs. MikroTik está claramente à altura do desafio! Só podemos esperar por interruptores semelhantes, mas talvez desta vez com portas de 1Gbps ou mesmo 2.5Gbps. Bravo MikroTik! Estamos à espera de mais!
Autores:
Leszek Błaszczyk
Wojciech Repiński